
6月28日,民航局一項關于充電寶乘機的緊急新規正式實施,全國多地機場安檢口出現“成筐充電寶被攔”的場景。


網上流傳的現場圖片顯示成筐的充電寶在機場被攔下 圖片來源:國家應急廣播
3C認證成硬門檻 召回型號被嚴查
根據新規,無3C認證標識、3C標志不清晰、被召回型號或批次的充電寶乘坐境內航班。
隨著新規的實施,全國各大機場安檢部門均在加強對旅客攜帶充電寶的查驗,嚴防不合規的充電寶乘機。
什么是3C標識?

圖片來源:中國質量認證中心
公開資料顯示,3C認證(China Compulsory Certification,中國強制性產品認證)是我國為保護消費者人身安全、國家安全及環境,依法實施的強制性市場準入制度。
根據國家規定,自2024年8月1日起,未獲得CCC認證證書和標注認證標志的相關產品,不得出廠、銷售、進口或者在其他經營活動中使用。


青島膠東國際機場攜帶充電寶乘機附加要求及充電寶自棄桶
隨著本次民航局新規的實施,不少機場新增充電寶核驗處置點以及充電寶自棄桶。
值得注意的是,近期多個頭部品牌充電寶廠家因電芯存在安全風險對多批次產品實施召回。
6月16日,深圳羅馬仕科技有限公司發布公告,召回超49萬臺移動電源。這些召回的移動電源產品由于部分電芯原材料來料原因,極少數產品在使用過程中可能存在過熱現象,在極端場景下可能產生燃燒風險,存在安全隱患。
6月20日,因發現某供應商部分批次的行業通用電芯,存在未經批準的原材料變更,這可能導致極少數產品在長期循環使用后隔膜絕緣失效,進而引發過熱甚至燃燒的安全隱患,安克創新(300866)也啟動對部分批次的基礎款移動電源產品主動召回,合計超71萬件。
此前,安克創新還宣布在美國召回115萬臺充電寶,原因是鋰離子電池可能存在過熱,從而導致塑料部件熔化、冒煙和火災危險。
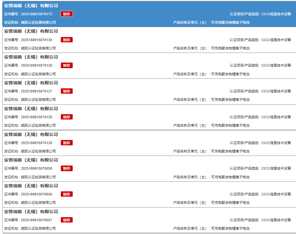
近期,國家市場監督管理總局撤銷或暫停了多個充電寶及電池芯廠家3C認證。

全國認證認可信息公共服務平臺查詢的信息顯示,電池供應商安普瑞斯(無錫)有限公司的多個相關電池及電芯產品3C認證證書處于“暫停”狀態。此外,羅馬仕、安克創新、倍思、綠聯等移動電源品牌的多個3C認證證書也被暫停。
3C認證是“入場券” 而非“通行證”
令人意外的是,近期安檢口被攔下的充電寶上,部分外殼上均有清晰印有3C認證標志。
沒有3C標志的充電寶都上不了飛機,但為何部分有3C認證的充電寶也被攔下?
此次民航局新規,是禁無3C標識的充電寶“上”飛機,即使是有3C標識、可以帶上飛機的充電寶,也需遵守相關規定,不得使用充電寶給電子設備充電。同時,始終關閉有啟動開關的充電寶。

此前,還有網友發現,部分電商平臺曾售賣“3C認證貼紙”,每張成本僅幾分錢。

圖片來源:國家應急廣播
商家往往以“裝飾貼紙”為名規避監管,或盜用其他產品證書編號上架,實質構成偽造認證標識行為。若消費者購買后貼于未認證產品上,將涉嫌“冒用認證標志”,涉事產品可被查封。
不過,目前在各大主流電商平臺檢索發現,“3C貼紙”等關鍵詞已被屏蔽,相關商品也已下架。
那么,如何分辨3C標志真偽?通常可以通過立體效果、防偽碼、網上查詢等方法辨別。
例如,從3C認證標識的正面對光觀察它,標識為白色底板、黑色圖案,用目光對準標識畫面觀察,應有深遠的立體視覺,有真實感。同時,通過安全認證的商品,都有唯一的編碼,撕開3C標志后,就會看到這個防偽碼。也可以登陸中國質量認證中心的官方網站查詢。

電池網注意到,近日,市場監管總局全面開展2025年產品質量國家監督抽查工作,將對164種產品開展國家監督抽查。其中,充電寶、電動自行車、燃氣用具等產品抽查批次數大幅提升。
今年6月18日,工信部網站公開征集17項強制性國家標準制修訂計劃項目的意見,其中包括《移動電源安全技術規范》。修訂計劃擬新增或加嚴過充電、針刺、擠壓、熱濫用等試驗要求,擬提出正負極、隔膜、電解液等直接影響電池安全的關鍵材料要求等。
安全無小事,每一道規定背后都承載著對生命的尊重和保護。
民航局表示,2025年以來,旅客攜帶的充電寶等鋰電池產品機上起火冒煙事件多發。
據悉,3月20日,由杭州飛往香港的航班上,飛機頭頂客艙內發生起火事件,隨后飛機緊急降落。法國航空事故調查局文件顯示,該事故是由充電寶的熱失控引起的。
5月31日,中國南方航空一架飛機上,一旅客攜帶的相機電池、充電寶出現冒煙情況,導致飛機返航。
6月10日,山東航空SC1160航班上,有乘客攜帶的充電寶冒煙。
6月13日,上海航空FM9449航班在飛行過程中,出現充電寶冒煙的情況,旅客接力遞水撲救,好在最終航班安全降落。
結語:安全無小事!消費者選購時,請務必核對3C認證、召回信息及實際容量,謹防安全隱患。 同時,充電寶登機新規落地、大規模產品召回潮以及部分3C認證被撤銷或暫停,正深刻重塑行業格局,標志著監管全面趨嚴:全鏈條治理強化、供應鏈責任壓實、質量追溯體系完善、電池安全技術升級已迫在眉睫。充電寶行業競爭將加速從“價格戰”向“價值戰”轉變,安全與品質成為核心賽道。

電池網微信












